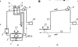
Система отопления, изображенная на рисунке, называется... 
 
Другие предметы Колледж Системы отопления зданий теплоснабжение зданий вентиляция зданий система отопления колледж отопление с естественным побуждением однотрубная система двухтрубная система принудительное побуждение проектирование вентиляции теплоэнергетика
Чтобы правильно определить, какая система отопления изображена на рисунке, нужно рассмотреть несколько ключевых аспектов, связанных с типом системы и способом побуждения теплоносителя.
1. Определение типов систем отопления:Если на рисунке изображена система с котлом, который не заглублен и теплоноситель движется самопроизвольно, то это может указывать на систему с естественным побуждением. Если же видно, что котел находится ниже уровня радиаторов, или присутствуют насосы, то это может свидетельствовать о системе с принудительным побуждением.
3. Вывод:Таким образом, чтобы ответить на вопрос, необходимо внимательно посмотреть на детали рисунка. Если система однотрубная или двухтрубная, а также способ побуждения (естественное или принудительное) можно определить по расположению котла и наличию насосов.
Если вы видите, что система однотрубная и использует естественное побуждение, тогда это будет правильный ответ. Если же система двухтрубная и с естественным побуждением, то это также будет корректно. Наличие насоса укажет на систему с принудительным побуждением.
Таким образом, правильный ответ зависит от анализа конкретных элементов на рисунке. Если у вас есть возможность, уточните детали изображения, чтобы сделать окончательный вывод.