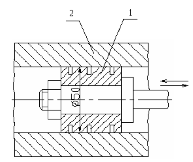
Для выбора посадки для соединения поршня с цилиндром, необходимо учитывать несколько факторов, таких как тип соединения, требования к зазорам, условия эксплуатации и точность обработки деталей. В данном случае, мы имеем несколько вариантов посадок, и давайте разберем их подробнее.
- Ø50H8 - Это отверстие с допуском H8. Посадка будет свободной, так как H8 допускает определенный зазор. Это может быть подходящим вариантом, если требуется легкое движение поршня в цилиндре.
- e8Ø50 - Это обозначение указывает на наружный диаметр 50 мм с допуском e8. Данная посадка также будет свободной, но с меньшим зазором, что может быть полезно для обеспечения более плотного соединения.
- Ø50H7 - Посадка с допуском H7. Это более точная посадка, чем H8, и может обеспечить более плотное соединение, что важно для уменьшения утечек и повышения эффективности работы поршня.
- p6Ø50 - Это обозначение указывает на наружный диаметр 50 мм с допуском p6. Данная посадка может быть использована в случаях, когда требуется высокая точность и минимальные зазоры.
- Ø50E9 - Посадка с допуском E9. Это очень точная посадка, которая обеспечивает минимальные зазоры. Подходит для высоконагруженных соединений.
- h8Ø50 - Это отверстие с допуском h8, что также обеспечивает свободную посадку, но с меньшими зазорами по сравнению с H8.
- Ø50H7 - Повторяется, и как уже упоминалось, это более точная посадка, чем H8.
- к6Ø50 - Посадка с допуском к6. Подходит для случаев, когда требуется высокая точность и минимальные зазоры.
- Ø50U8 - Это обозначение указывает на наружный диаметр 50 мм с допуском U8. Подходит для свободных соединений, но с большими зазорами.
- h7Ø50 - Это отверстие с допуском h7, что также обеспечивает свободную посадку, но с меньшими зазорами по сравнению с H8.
Теперь, чтобы выбрать наиболее подходящую посадку, нужно учитывать следующие аспекты:
- Если требуется свободное движение поршня, можно рассмотреть варианты H8 или U8.
- Если важна точность и минимизация зазоров, лучше выбрать H7 или E9.
- Для высоких нагрузок и минимизации утечек, предпочтительнее использовать E9 или p6.
В итоге, выбор будет зависеть от конкретных требований к соединению. Если вам нужна более плотная посадка для уменьшения утечек, рекомендую выбрать Ø50H7 или Ø50E9.