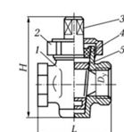
Запорная арматура, представленная на рисунке, называется

Другие предметы Университет Запорная арматура теплоснабжение зданий вентиляция зданий системы отопления проектирование систем вентиляции энергоэффективность отопления теплоизоляция зданий оборудование для вентиляции расчет тепловых нагрузок автоматизация систем отопления вентиляционные каналы теплообменники нормы теплоснабжения выбор вентиляторов схемы отопления эксплуатация вентиляционных систем
Запорная арматура, представленная на рисунке, может быть одной из нескольких разновидностей, и чтобы правильно ее идентифицировать, необходимо рассмотреть каждую из предложенных категорий.
Чтобы правильно ответить на вопрос, необходимо знать, как выглядит запорная арматура на рисунке. Если на рисунке изображена арматура с плоским или клиновидным затвором, то это задвижка. Если изображен вентиль с ручкой для регулировки, то это вентиль. Если это устройство с пробкой, которое вращается, то это пробковый кран. А если устройство предназначено для регулирования потока, то это дроссельный регулирующий кран.
Таким образом, для точного ответа необходимо проанализировать изображение и выбрать соответствующий вариант запорной арматуры.