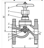
Запорная арматура, представленная на рисунке, называется ...
Другие предметы Колледж Запорная арматура теплоснабжение зданий вентиляция зданий колледж теплоснабжение системы вентиляции отопление и вентиляция запорная арматура задвижка вентиль пробковый кран дроссельный кран
Чтобы правильно определить, как называется запорная арматура, представляемая на рисунке, необходимо рассмотреть каждое из предложенных наименований и их особенности.
Теперь, чтобы определить, какое из этих названий соответствует запорной арматуре на рисунке, нужно обратить внимание на ее конструкцию и назначение. Если устройство предназначено для полного перекрытия потока, то это может быть задвижка или вентиль. Если оно регулирует поток, то это дроссельный регулирующий кран.
Таким образом, если вы видите на рисунке устройство с ручкой и с возможностью регулировки потока, то это дроссельный регулирующий кран. Если же это устройство, которое полностью блокирует поток, то это задвижка.
Если у вас есть возможность, обратите внимание на детали конструкции, чтобы сделать точный вывод.