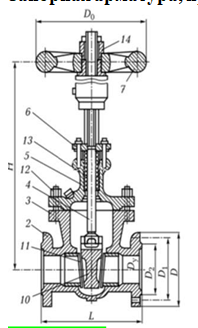
Запорная арматура, представленная на рисунке, называется 
 
Другие предметы Колледж Запорная арматура теплоснабжение вентиляция зданий колледж системы отопления проектирование вентиляции оборудование для теплоснабжения учебные заведения курсы по вентиляции технологии отопления стандарты теплоснабжения
Вопрос о том, какая запорная арматура представлена на рисунке, требует внимательного анализа типов арматуры, используемой в системах теплоснабжения и вентиляции. Давайте разберем каждый из предложенных вариантов:
Теперь, чтобы правильно ответить на вопрос, нужно обратить внимание на конструкцию и принцип работы запорной арматуры, изображенной на рисунке. Если это устройство предназначено для полного перекрытия потока, то это может быть задвижка или вентиль. Если же оно имеет возможность регулировать поток, то это может быть дроссельный регулирующий кран.
Таким образом, чтобы дать наиболее точный ответ, необходимо посмотреть на рисунок и определить, какой именно механизм представлен. Если вы можете предоставить описание рисунка или его особенности, я смогу помочь вам более точно определить тип запорной арматуры.